Поделиться:
Powder coating gun spare parts
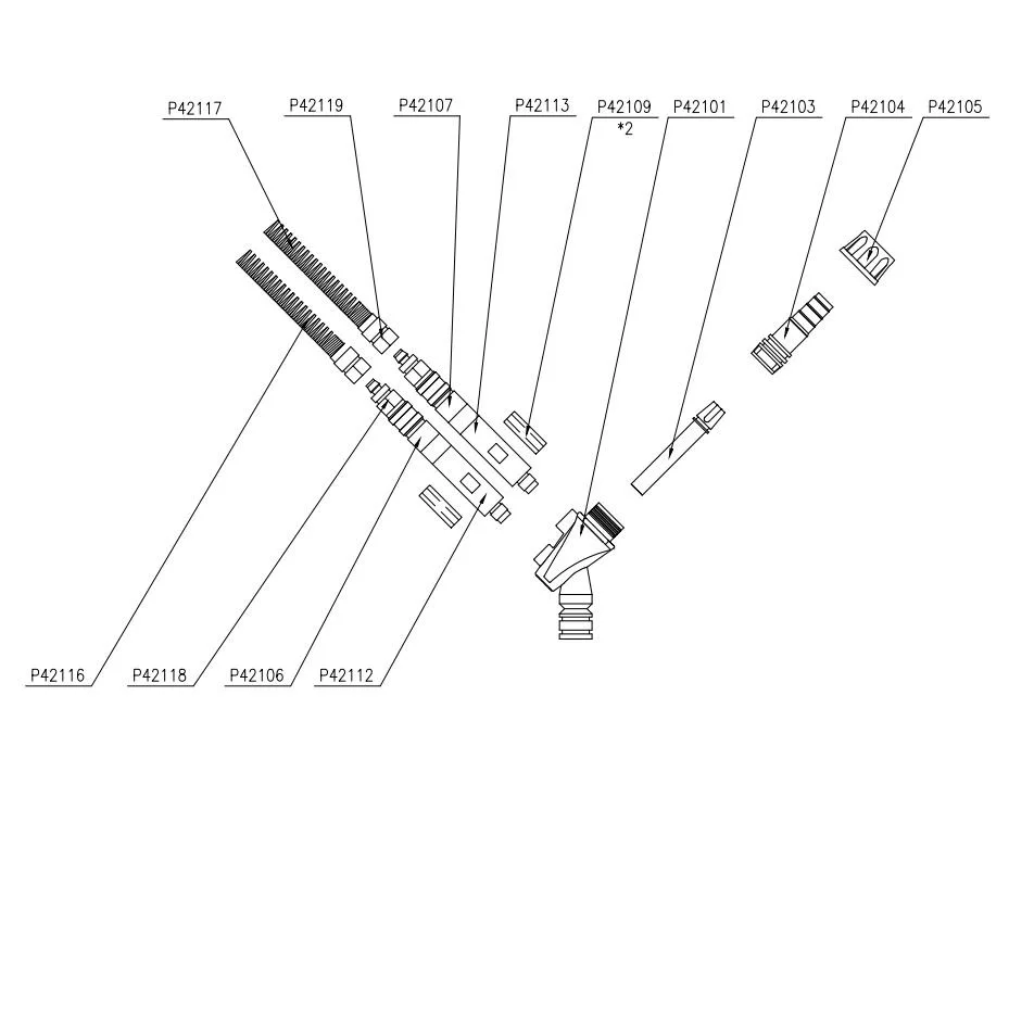
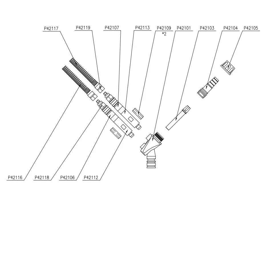
IG06 powder injector
1.100% interchanged with original injector
2.CL1007 780 Powder injector (type IG06)

gema optiflex 2 powder injector
similar quality with the original but price is much lower,they are working well in the original spray gun
the spare part for this powder injector are also could supply.

Welcome to visit our website!we will be your best suppiler!!
http://colourspray.en.alibaba.com
Contact person:Monica
Telephone: +86 15325719302
Skype:hicolo05